Teraloop: onko idea fysikaalisesti realistinen?
Startupien on oltava radikaaleja, innovatiivisia, ja optimistisia. Kukaan ei pahastu, jos startup on hiukan liiankin optimistinen. Mutta missä menee raja? Innovaation ja innostumisen vastavoimana on oltava itsekuri ja itsekritiikki. Mitä tapahtuu, jos nämä puuttuvat?
Startup nimeltä Teraloop on esittänyt varsin ällistyttäviä ajatuksia. Uusiutuvien energialähteiden suurin ongelma on niiden ajoittaisuus: energiaa on pystyttävä varastoimaan niiksi ajoiksi, kun ei tuule tai aurinko ei paista. Tähän mennessä ei kerta kaikkiaan ole ollut tekniikoita, joilla pystyttäisiin varastoimaan gigawattitunneittain energiaa moneksi päiväksi kustannustehokkaaseen hintaan. Teraloop väittää löytäneensä ratkaisun, liikuttamalla suuria massoja renkaan muotoisella radalla maan alla.
Fysiikkaa vähänkään tuntevissa idea on herättänyt ensin ällistystä, sitten mielenkiintoa ja lopulta syvää epäuskoa. Idea ei välttämättä varsinaisesti riko fysiikan lakeja, mutta se ei vaikuta millään tavalla realistiselta. Skeptisiä arvioita on jo esitetty Kaj Luukon aiemmassa blogissa.
Erikoisia väitteitä ja erikoisia startupeja on maailma pullollaan, ja asian voisi sinällään jättää sikseen. Tarkempi penkominen kuitenkin osoitti vielä kummallisempia väitteitä. Yhtiö itse sanoo saaneensa Tekesilta tutkimusrahoitusta ja sen lisäksi tekevänsä yhteistyötä VTT:n kanssa. Käytännössä VTT-yhteistyö viitannee Tekniikka & talouden artikkelissa mainittuun toteutettavuustutkimukseen, joka on tilaustyönä teetetty ulkopuolisella rahoituksella. Yhtiö on listattu myös yhdeksi Vaasa Entrepreneurship Societyn Top 30 energia-alan startupiksi; VES:n tiedoissa yhtiö ilmoittaa saavansa rahoitusta myös Fortumilta.
Näistä yhteistyökuvioista ei ole julkisuudessa ollut mitään tarkempaa tietoa. Jos yhtiön ympärillä todellakin liikkuu verovaroja, idean taustoja on syytä penkoa paljon tarkemmin. Onko yhtiö todellakin keksinyt jotakin mullistavaa, vai ovatko sen ideat tarkemmin penkoenkin yhtä huteria kuin pikaraapaisulla katsoen?
Ryhmä fysiikan ja tekniikan alan ammattilaisia päätti joukkoistaa analyysin. Kirjoitus julkaistaan yhtä aikaa omissa blogeissamme. Kirjoittajat aakkosjärjestyksessä: Kaj Luukko (Gaia-blogi), Jani-Petri Martikainen (PassiiviIdentiteetti-blogi), Jakke Mäkelä (Zygomatica-blogi), Rauli Partanen (Kaikenhuippu-blogi), Aki Suokko (Palautekytkentöjä-blogi), Ville Tulkki.
Tämä kirjoitus keskittyy vain fysiikkaan ja teknologiaan, ottamatta kantaa toteutuksen hintaan. Esiin tulevista kysymyksistä voi kuitenkin helposti päätellä, että hinta tulisi olemaan absurdin suuri — olettaen, että järjestelmä ylipäätään toimisi, mikä näyttää varsin epätodennäköiseltä.

Mitä yhtiön konseptista siis voi päätellä nykyisten tietojen perusteella? Onko syytä olettaa, että se olisi fyysisesti millään tavalla realistinen missään aikataulussa?
Mitä ideasta on väitetty?
Asiasta uutisoi tiettävästi ensimmäisenä tammikuussa 2016 Tekniikka & talous. Se ilmoitti, että “hanke on tarkoitus toteuttaa yhteistyössä yhden Pohjoismaiden suurimpiin kuuluvan energiayhtiön ja suomalaisten teknologiayhtiöiden kanssa – tämän tarkemmin ei Teraloop halua yhteistyökumppaneitaan vielä tässä vaiheessa nimetä.”
Huhtikuussa aiheesta kirjoitti Tekniikan Akatemia TAF, joka jakaa joka toinen vuosi tunnetun Millennium-teknologiapalkinnon. TAF:n tiedotteessa ei juurikaan avata teknisiä yksityiskohtia, mutta siinä mainitaan, että yhtiö väittää pääsevänsä 500 MW tehoihin ja 16 GWh kapasiteettiin. Myös yhtiön nettisivuilla todetaan nämä luvut.
Aiheesta on kirjoittanut innostuneesti mm. industrialprime.fi,
Mitä ideasta todellisuudessa tiedetään?
Julkista teknistä tietoa on yhden patenttihakemuksen verran (WO2016/001478). Hakemusta arvioidaan tarkemmin blogin lopussa, mutta tähän on tiivistetty se informaatio, joka hakemuksesta on mahdollista päätellä.
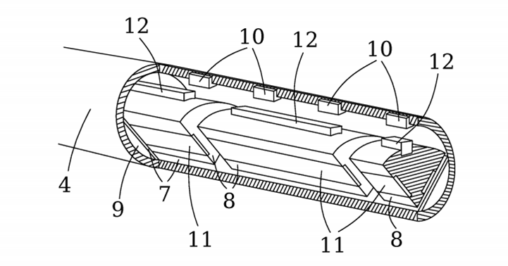
Patenttihakemuksen perusteella Teraloopin ajatuksena on rakentaa pyöreä tunneli, jonka lattiassa on kestomagneetteja. Suurien painoelementtien pohjassa on kestomagneetteja, joiden avulla ne kelluvat lattian magneettien yläpuolella. Elementtien yläpinnassa on myös kestomagneetteja. Elementtejä liikutetaan säätelemällä tunnelin katossa olevia sähkömagneetteja, kuten esimerkiksi maglev-junissa tehdään. Elementtejä yhdistetään toisiinsa, ja niistä rakennetaan rengas tunnelin sisään.
Patenttihakemuksen esimerkissä (joka siis on vain yksi mahdollisuus) ympyränmuotoisen radan säde on 2,5 km, ja se koostuu osista joiden paino on 30-40 tonnia ja mitat 1,5x2x8 metriä. Ketjun kokonaismassaksi tulisi hakemuksen mukaan noin 70 000 tonnia ja tiheydeksi noin 1500 kg/m3. Osat voivat olla esimerkiksi betonia.
Teraloopin ei ole nähtävästi kertaakaan esittänyt konkreettisia lukuja, joissa olisi yhtä aikaa ilmoitettu energiakapasiteetti, massa, radan säde, sekä nopeus. Jos kolme näistä tiedetään, neljäs voidaan laskea. Vain kahdesta eri konfiguraatiosta on numeroarvoja:
- Patenttihakemus. Säde 2500 metriä, paino 70 000 tonnia. Energiakapasiteetti mahdollisesti TWh-luokkaa. Nopeus tuntematon.
- Tiedotteet. Energiakapasiteetti 16 GWH, säde 250 metriä. Massa tuntematon, nopeus tuntematon.
Kummassakin skenaariossa on ongelmia. Jos skenaariossa a oletetaan että kapasiteetti olisi 1 TWh, nopeudeksi saataisiin näiden lukujen perusteella noin 10 km/s (ks alempana). On vaikea kuvitella, että keksijät olisivat tosissaan tällaista ehdottamassa. Tämä nopeushan vastaa lähes pakonopeutta maapallolta, eli tällä nopeudella Teraloopin saisi helposti ammuttua maata kiertävälle radalle.
Toisaalta, jos skenaariossa b oletetaan sama tiheys kuin skenaariossa a, massa jäisi tälle lyhyemmälle renkaalle niin paljon pienemmäksi, että 16 GWh saavuttaminen vaatisi taas saman maata kiertävän nopeuden.
Päädyimme käyttämään näissä laskuissa tulkintaa, joka on Teraloopin kannalta edullisin mahdollinen. Käytämme patenttihakemuksen lukuja radalle ja massalle, mutta oletamme että sillä yritetään saavuttaa vain tiedotteissa oleva 16 GWh kapasiteetti.
Tässä esitetty analyysi on siis käytännössä äärimmäisen ylioptimistinen. Teraloopin varsinaisiin lupauksiin pääseminen olisi moninkertaisesti vaikeampaa. Kuten kuitenkin huomataan, näilläkään luvuilla systeemi ei ole toteutettavissa.
Idean perusfysiikkaa
Idean perusfysiikka on melko yksinkertainen. Pyörivän renkaan liike-energia on
E= (½)*I*ω2,
Missä I on hitausmomentti ja ω on pyörimisnopeus (rad/s). Tällaisen renkaan hitausmomentti on
I = m* R2
Missä m on renkaan massa ja R sen säde. Toisaalta ratanopeus v=ω*R, jolloin voidaan kirjoittaa
E = (½)m*v2 = (½)*m*R2*ω2
Mikäli 70 000 tonnin massaan halutaan varastoida uutisotsikoissa mainittu 16 GWh energiaa, tulisi massan liikkua 4700 kilometrin tuntivauhtia, eli 1300 m/s. Vertailun vuoksi äänen nopeus ilmassa on noin 330 m/s, ja yliäänikone Concorden nopeus oli “vain” 600 m/s.
Jos renkaan säde on 2500 metriä, voidaan tästä myös laskea, että ω~0.5 rad/s, eli rengas pyörähtää ympäri noin 12 sekunnissa. (Jos säde olisi vain 250 m, sen pitäisi pyöriä ympäri kerran sekunnissa).
Teraloopin vaunujen nopeuden tulisi siis olla samaa suuruusluokkaa kuin esimerkiksi raidetykkien kranaattien nopeuden niiden iskeytyessä maaliinsa. Youtube-video näyttää esimerkin siitä mitä törmäyksestä seuraa. Teraloopin junan törmäyksessä vapautuisi 16 GWh energiaa, joka vastaa melko tarkasti Hiroshiman atomipommin energiasisältöä. Ainut este tunnelin seinän ja junan välillä on muutama millimetriä jonkinlaista magneettikenttää. (Patenttihakemuksessa mainittu TWh, vastaa USA:n vetypommien kokoa.)

Teraloopin vaatimat nopeudet havainnollistettuna. http://i.imgur.com/xHNoZpl.gif
Vertailu maglev-junaan
Teraloop kertoo junansa liikkuvan Maglev-junan tapaan eli käyttävän magneettista levitointia. Toteutettujen Maglev-junien yhteisenä piirteenä on kuitenkin alhainen paino ja melko suora rata. Esimerkiksi Shanghain lentokentän ja kaupungin väliä kulkeva Maglev-juna painaa noin 100 tonnia ja on mitoiltaan 153 m x 3,7 m x 4,2 m. Junan maksiminopeus on n. 120 m/s jolloin kineettinen energia olisi noin 0.2 MWh eli noin 1/100000 osa Teraloopin varastoimasta energiasta. Keskitiheys Shanghain junassa on 42 kg/m3. Jos oletamme Teraloopin junan tiheydeksi patenttihakemuksessa olleen 1500 kg/m3, on maglev-junan tiheys noin 36 kertaa Teraloopin junaa alhaisempi.
Maglev-junien suhteellisen alhainen tiheys mahdollistaa levitoinnin käytännössä toteutettavilla magneettikentillä. Radan on myös oltava melko suora, koska jyrkkä kaarre (pieni kaarevuussäde) yhdistettynä suureen nopeuteen tarkoittaa suuria g-voimia kaarteissa. Suurten g-voimien hallinta puolestaan vaatii entistä voimakkaampia magneettikenttiä.
Teraloopin ideassa junan tulisi siis olla maailman suurimpien junien kokoluokassa ja painaa noin 1000 kertaa Shanghain Maglev-junan verran. Teraloopin junan tulisi liikkua noin 10 kertaa nopeammin kuin maailman nopeimmat junat ja vieläpä radalla, joka on paljon kaarevampi. Jos kahden magneettisen pinnan magneettien välinen voima on noin B2A/2μ0 (A=magneettisen pinnan pinta-ala) ja junan tiheys 1500 kg/m3 vaatii pelkkä levitointi vähintään noin 0,3 Teslan kentän mikäli oletamme koko junan ja radan pohjapinnan olevan magneettiset.
Ongelma: kaarevuus
Yllä oleva pätee siis suoralle radalle. Radan kaarevuus aiheuttaa kuitenkin tätä suuremmat vaatimukset. Renkaan jokaiseen osaan kohdistuva keskipakovoima (tarkkaan ottaen keskihakuvoima) on
F = m * ω2 * R = m*v2/R
Keskipakovoimaa erilaisilla massoilla ja nopeuksilla voi arvioida tällä työkalulla. Yksinkertaisinta on laskea kiihtyvyys g-voimina, jolloin arvo ei riipu massasta. Maan painovoima on 1g, ja ihminen kestää pyörtymättä korkeintaan noin 5 g voiman.
Patenttihakemuksessa mainittu 2500 metrin kaarevuussäde ja 1300m/s nopeus tarkoittaa noin 70g kiihtyvyyttä, ja vaatii siis liki 3 Teslan magneettikentän koko junan pohjapinnan alueella. Mikäli magneetit peittävät vain osan junan pohjasta vaaditaan vielä suurempi kenttä. Kestomagneetteja, jotka pystyisivät tuollaiset voimat kompensoimaan ei valitettavasti ole olemassa. Vaikka olisikin, noin suuret magneettikentät tuhoavat kestomagneetin kentän.
Tuo voima aiheuttaa jo melko kovia jännityksiä materiaaleihin. Jokaisen vaunun ja ennen muuta jokaisen vaunujen välisen nivelen on kestettävä tämän tasoinen voima. Jos yksikin nivel hajoaa, koko järjestelmä on vaarassa tuhoutua.
Suurempi ongelma on, että tämä voima kohdistuu käytännössä kohtisuoraan tunnelin seinämiä päin, eikä enää maanpintaan. Kiinteiden magneettien geometrian olisi muututtava kun nopeus kasvaa — käytännössä radan olisi kallistuttava. Toisaalta rata ei voi olla pysyvästi kallistunut, koska silloin vaunut tippuisivat pois radalta kun vauhti hidastuu.
Teraloopin esittämä konsepti siis toimii vain suoralle radalle. On syytä huomioida, että yllä oleva arvio on tehty patenttihakemuksessa kuvatulle radalle, jonka säde on 2,500 metriä. Jos säde olisi mainostusten mukaisesti vain 250 metriä, ongelma olisi kymmenen kertaa pahempi.
Mahdollinen ratkaisu ja uusi ongelma: sähkömagneetit
Mikäli mahdottomalta vaikuttavat kestomagneetit korvataan sähkömagneeteilla, voidaan noin 3 teslan kenttä luoda esimerkiksi tällaisella laitteella. Valitettavasti tämä voimakas kenttä peittää vain noin 9 prosenttia laitteen koosta. Mikäli tuota osaa ei paranneta, vaaditaaan noin 3-4 kertaa voimakkaampia kenttiä kuin jo tähän asti arvioidut. Sähkömagneetti kuluttaa myös sähkötehoa noin 880 W. Mikäli edellä mainittu ongelma voimakkaan kentän rajoitetusta pinta-alasta voidaan ratkaista, junan kannatteleminen vaatisi noin 500 000 sähkömagneettia ja tehonkulutus olisi yli 400 MW eli noin saman verran kuin laitteen väitetty teho. Magneetit painaisivat noin 10 kertaa enemmän kuin itse juna.
Sähkömagneetitkaan eivät pysty suoraan ratkaisemaan edellä mainittua kallistumisongelmaa, vaikka osittaisen ratkaisun voisivatkin tarjota.
Muita avoimia kysymyksiä
Joihinkin kysymyksiin emme ole pystyneet löytämään luotettavia arvioita, mutta ne tulevat varmasti tuottamaan haasteita. Laitteen hidastaminen ja kiihdyttäminen tuottavat aina lämpöä, tässä tapauksessa luultavimmin ennen muuta ohjaaviin sähkömagneetteihin. Tyypillisesti hyvässäkin järjestelmässä 10 % tehosta menee hukkaan; tämä tarkoittaa, että 500 MW ottoteho tuottaisi noin 50 MW lämpötehoa. Tämä on paljon, mutta saattaa olla johdettavissa ulos. Melko väistämättä se lämmittää myös rakenteita, ja voi heikentää esimerkiksi kiinteiden magneettien stabiilisuutta. Tarkkoja arvioita on mahdoton esittää.
Hyvän tyhjiön aikaansaaminen ja ylläpitäminen näin suuressa tilassa ei helppoa. Suurin normaalissa käytössä tällä hetkellä oleva tyhjiökammio on halkaisijaltaan noin 30 metriä ja korkeudeltaan noin 37 metriä. Koska järjestelmä on käytännössä hypersoninen, pienikin määrä ilmaa tunnelissa voi olla tuhoisaa. Teraloop vaatisi siis aivan uutta teknologiaa myös riittävän tyhjiön aikaan saamiseksi.
Kysymyksiä patenttitilanteesta
Toistaiseksi vasta yksi patenttihakemus (WO2016/001478) näyttää tulleen julkiseksi. Hakemus on jätetty heinäkuussa 2014 ja tullut julkiseksi tammikuussa 2016. Koska patenttihakemukset ovat salaisia 18 kuukautta, vain ennen lokakuuta 2014 jätetyt hakemukset ovat tällä hetkellä tiedossa.
Hakemukselle on nähtävästi jo tehty kansainvälinen haku, jossa on löydetty ainakin muutama patentti jotka kattavat saman idean. Prosessi kuitenkin jatkunee, ja on mahdollista että ainakin jonkinlainen patentti lopulta myönnetään.
Jos patentti myönnetään, mitä se kertoo Teraloopin idean toteutettavuudesta? Käytännössä ei mitään. Patenttihakemus kertoo, että tällainen valtavan suuri rengas halutaan rakentaa, ja hakijat haluavat olla ainoat maailmassa jotka saavat sellaisen rakentaa. Tämä hakemus ei kuitenkaan kerro mitään idean toteutettavuudesta, eikä vastaa mihinkään tässä blogissa esitetyistä kysymyksistä.
Tämä ei sinällään välttämättä ole epäilyttävää. Jos hakijoilla on kasa todella innovatiivisia ideoita siitä miten tällainen rengas toteutetaan, heidän voi kannattaa ensin yrittää suojata perusidea renkaan rakentamisesta. Tämän patentin keveys ei välttämättä siis ole epäilyttävää, jos uusia patentteja on sen jälkeen haettu kiivaasti. Patenttihakemusten pitäisi kuitenkin alkaa tulla julkisiksi aivan lähikuukausina, jos kehitystyö on ollut intensiivistä.
Yhteenveto
On selvää, että startupit käyttävät erittäin optimistisia arvioita, ja jopa suoraan liioittelevat. Tätä niiltä odotetaan. Teraloopin ehdotuksen kaltaiset ristiriidat oikean maailman kanssa eivät kuitenkaan ole enää optimismia, vaan jotakin muuta. On periaatteessa mahdollista, että Teraloopilla on jotakin vuoden 2015 aikana jätettyjä patenttihakemuksia, joissa esitetään jotakin radikaalia tietoa siitä, miten rengas toteutetaan. Tämän hetken julkisilla tiedoilla näyttää kuitenkin siltä, että konsepti ei ole likimainkaan toteutettavissa edes teoriassa.
Jos yhtiön väitteet Tekes-rahoituksesta ovat tosia, olisi tarpeen kuulla millaisilla summilla valtio tätä kokeilua aikoo tukea, ja mihin tietoon päätökset perustuvat. Toivomme ilman muuta hyville startup-hankkeille menestystä. Suomen vaikea tilanne vaatii, että rahoitetaan suurella riskillä myös radikaaleja innovaatioita, joilla on suuri riski epäonnistua. Kun tutkimuksen ja kehityksen tukirahat kuitenkin koko ajan vähenevät, ne pitäisi sentään pystyä kohdistamaan sellaisiin hankkeisiin, joilla on edes teoreettiset mahdollisuudet onnistua.
12.4.2016 Kaj Luukko, Jani-Petri Martikainen, Jakke Mäkelä, Rauli Partanen, Aki Suokko ja Ville Tulkki.










Edit: korjasin toiset potenssit kaavoissa muotoilultaan oikeiksi.
Junan kannattelu hitaammassa vauhdissahan ei ole teknisesti ongelma sillä junaa voi hyvinkin tukea kahdesta eri suunnasta ja vaikka vetää alla oleva tuki pois, kun vauhtia on tarpeeksi.
Muuten olen samaa mieltä systeemin kokoluokan olevan näiläl tiedoilla järjetön. Joku muutaman megawatin laitos ei aiheuttaisi ihan samanlaista epäuskoa. Tosin veikkaanpa että siinäkin tulevat taloudelliset realiteetit vastaan.
Huvittavaa kuinka tämä esitetään lehdistössä valmiina ratkaisuna. ”Suomalaisyritys on ratkaissut…” vaikka vekotinta ei ole vielä edes piirustuspöydällä ja prototyypinkin rakentaminen on aloittamista vaille valmis.
Tässä vielä pari muualla mediassa ollutta noteerausta:
http://www.tiedetuubi.fi/tekniikka/mullistava-teraloop-taitaa-olla-megaluokan-floppaus
http://www.vihrealanka.fi/uutiset-kotimaa/maailmanpelastus-vai-toivoton-yritys-bloggariryhm%C3%A4-runttaa-hehkutetun-teraloopin
Jäin miettimään tätä fysiikkaa ja eikös tämä perustu yhtenäiseen renkaaseen ja sikäli vertaus junaan ei ole osuva? Rengas pitäisi itse itsensä radalla rengasrakenteen sisäisin voimin. Magneetteja ei tarvittaisi periatteessa kuin renkaan kannatteluun. Eli systeemi pyörisi kuin iso hyrrä. Voin kyllä hyvin olla aivan väärässä…
Kuulemani mukaan (en ole itse lukenut patenttihakemusta) kyseessä oli nimenomaan massat jotka olivat kiinni toisissaa, ei yhtenäinen rengas.
Tuollaisen renkaan duunaaminen suoraan paikalle (ei sitä varmaan oikein kuljetettuakaan saisi) voisi myös olla aika moista insinööriyden taidonnäytettä 🙂
Varmaankin tuollaisen jäykän systeeminkin saisi hitsattua kasaan tarvittaessa. Mun maalaisjärki vain sanoisi että liitosten jäykkyydellä ei sisänsä ole väliä kunhan junan etu- ja takapää on kiinni toisissaan. Jos ketju katkeaa niin sittenhän tuo lävähtäisi seinille saman tien.
Onhan niitä muitakin kiinnitustapoja kuin hitsaaminen. Esimerkiksi tapit ja ruuvit,
” Rengas pitäisi itse itsensä radalla rengasrakenteen sisäisin voimin. ”
Tämähän vähentää olennaisesti perustuksiin kohdistuvia voimia. Esimerkiksi teräksestä valmistettu saumaton rinkula kestäisi helposti 70 g:n kiihtyvyydet (olipa sen koko mikä tahansa) ja tällöin perustusten pitäisi kestää vain rinkulan oma paino.
Hyvää työtä. On selvääkin selvempää, että kyseessä on humpuukiprojekti.
Suomessa on se vika, että kaikki ideat tyrmätään. Laskekoon sellasen vekottimen ensin tuotantoon joka pelaa varmasti. Perustelkoon vastauksensa. Nyt jos osaamista onkin epäilijää enemmän, niin missä vika?
Kyllä älyttömät ideat saakin tyrmätä, tai oikeastaan älyttömät markkinamiesten puheet. Kokoluokkahan tuossa näyttäisi olevan täydellisesti metsässä.
Se hyvä puolihan tässä on että mikäli me olemme väärässä, Teraloop pystyy sen osoittamaan. Ei sen tarvise rakentaa kuin sen verran toimiva prototyyppi, että sillä saa tarpeeksi rahaa toimivan laitoksen kehittämiseen.
Lisää muun median kirjoittelua aiheesta:
http://www.tekniikkatalous.fi/tekniikka/energia/mullistava-energiakeksinto-vai-mahdoton-yritys-suomalainen-16-gwh-n-energiavarasto-puhuttaa-6540490
Mutta oliisko mahdollista rakentaa usea pienempi häkkyrä yhden ison sijaan ja varastoida niistä jokaiseen vähänmmän energiaa? Eli siis samaan tapaan, kuin yksittäinen tuulivoimala tuottaa vähän sähköä, mutta iso tuulivoimalapuisto paljon sähköä?
Varmasti olisi. Ongelma lienee siinä että myös säilötty energiamäärä putoaa nopeasti jolloin kyseessä ei enää ole se teraloop josta julkisuudessa oli puhetta. On myös sitten eri asia miten taloudellisesti järkevää monien systeemien rakentaminen olisi, sillä tällaiset nauttivat mittakaavaeduista kustannusten suhteen. Mut joo. Gigaloop… 🙂